Samsung AR Glasses Patent Application for Wireless Charging Case Unveiled

Samsung’s Wireless Charging Case for AR Glasses
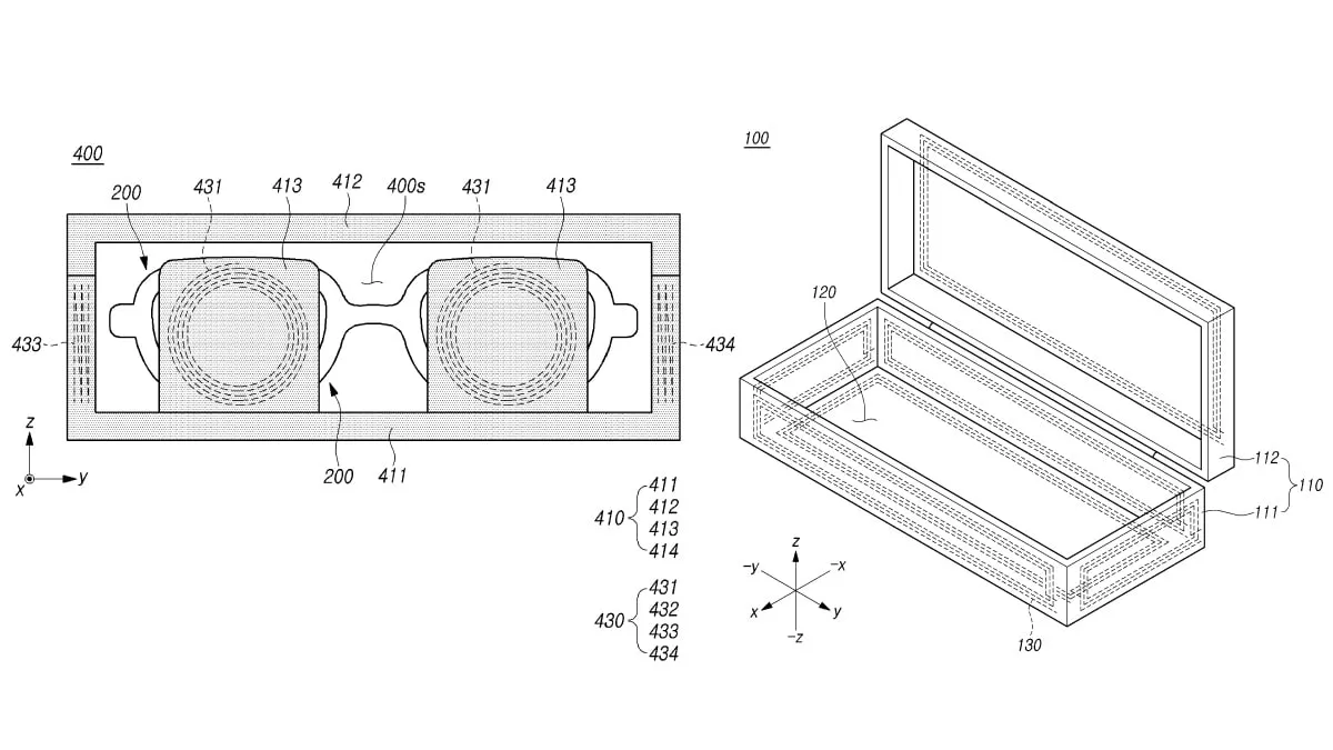
Samsung's recent patent application, titled 'Wireless Power Transmitting Device,' suggests an exciting advancement in AR technology. The document, published on the World Intellectual Property Organization (WIPO) website, outlines a new wireless charging case specifically designed for augmented reality glasses.
Functionality and Design Features
This innovative case allows users to securely place their AR glasses inside a rectangular charging case. The design incorporates magnetic coils that wirelessly transmit power, ensuring that the glasses remain charged, eliminating the hassle of conventional charging.
- Magnetic Coils: The case utilizes alignment with the lenses for effective power transfer.
- Optimized Convenience: Users can place the glasses vertically or folded within the case.
- Streamlined Charging: A full charge is ensured and ready upon retrieval, similar to truly wireless stereo (TWS) headsets.
Potential Impact on the Market
While the patent does not confirm the immediate release of these AR glasses, the incorporation of wireless charging may significantly appeal to consumers, thus enhancing user experience and adoption of AR technology.
For those interested in the latest mobile launches and innovative gadgets, keep an eye out for developments regarding Samsung's potential AR glasses as more information becomes available.
This article was prepared using information from open sources in accordance with the principles of Ethical Policy. The editorial team is not responsible for absolute accuracy, as it relies on data from the sources referenced.